
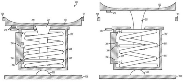
Teknoloji devinin aldığı son patent iPhone'lara yeni bir özellik geleceğinin işaretini verdi. ABD Patent ve Marka Ofisi tarafından yayınlanan yeni Apple patentine göre Home tuşu joystick'e dönebilecek.
360 DERECE HAREKET EDECEK
Yeni iPhone'lara eklenecek olan Home tuşu joystick modunda 360 derece hareket edecek. Oyunlarda her türlü D-pad hizmetini verecek. Tuşa bir kere daha basıldığında orijinal haline geri dönecek.
YOĞUN KULLANIMDA BOZULUR MU
Yeni iPhone'lara eklenmesi beklenen joystick özelliğinin yoğun kullanımlara ne kadar dayanabileceği konuşuluyor. Öte yandan iPhone'da oyun oynamak için üreticilerin aksesuarları ve Apple'a verdikleri destekleri geri çekebileceği söyleniyor.

KESİN BİR AÇIKLAMA YAPMADI
Apple'ın aldığı bu patentle yeni iPhone'lar için bir sinyal verdi. Ancak iPhone'larda bu özelliğin eklenip eklenmeyeceği konusunda kesin bir açıklama yapılmadı.
