Hyundai, direksiyon simidinde ekranın yer aldığı yeni bir patent aldı.
Son yıllarda otomotiv sektöründe büyük ekranlar tercih edilmeye başlandı. Güney Koreli otomobil üreticisi Hyundai ise ekran konusunda yeni bir devrime imza atmak istiyor.
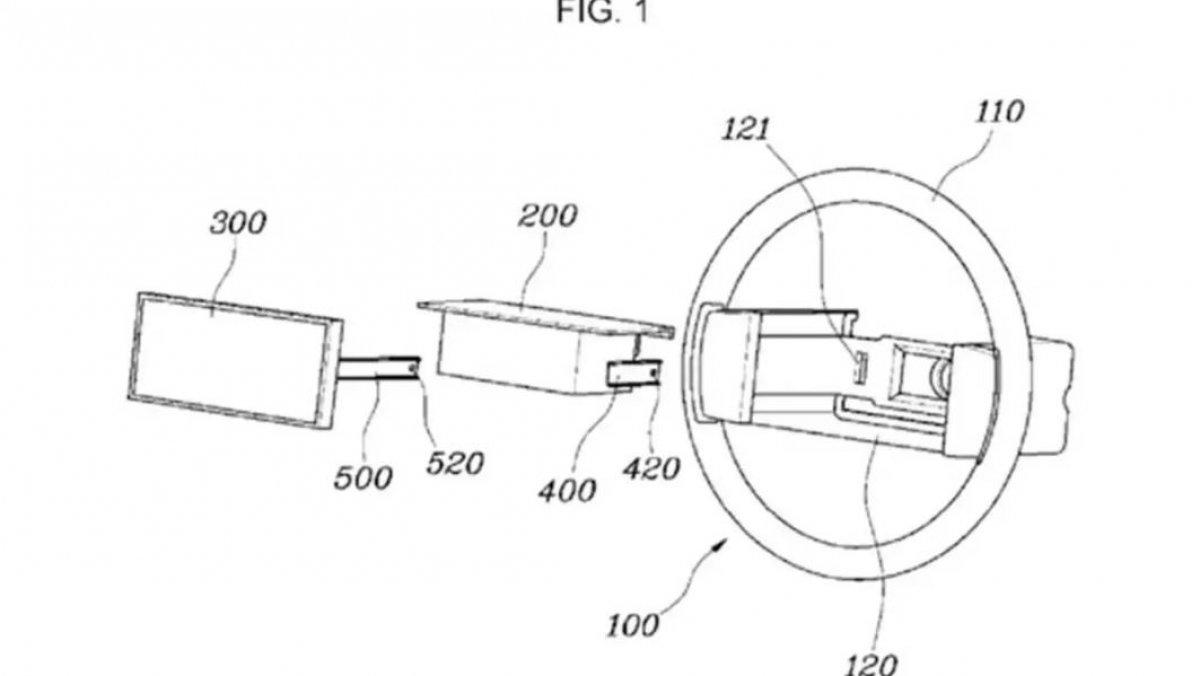
Marka, direksiyon simidinin tam ortasında bir ekranın yer aldığı yeni bir patent başvurusu yaptı.
Oldukça özgün bir proje olarak karşımıza çıkan bu patentin esasları 2019'a dayanıyor.
Çünkü o yıllarda Hyundai, ufak ekranları direksiyon simidi üzerine yerleştirerek, direksiyon üzerindeki tuşları ortadan kaldırmayı planlamıştı.
Bu patent ile ilgili henüz aşağıda gördüğünüz patent görseli dışında hiçbir bilgi bulunmuyor.
AMAÇ BELLİ DEĞİL
Bu nedenle Hyundai'nin o ekranı dijital gösterge için mi yoksa farklı bir amaç için mi kullanacağı henüz belli değil.

Kaynak: Ensonhaber Haber Merkezi