Apple katlanabilir iPhone üzerinde çalışıyor: İşte yeni telefon hakkında tüm bilinenler
Katlanabilir telefonlar konusunda sessizliğini koruyan Apple'ın iki adet katlanabilir iPhone prototipi ürettiği belirtiliyor. Katlanabilir iPhone'larla ilgili şimdiye kadar ortaya atılan tüm bilgileri derledik.
Güney Koreli akıllı telefon üreticisi Samsung, Galaxy Fold ile birlikte ilk defa katlanabilir telefon pazarına girmiş ve pazardaki yarışı başlatmıştı. Daha sonra ise birçok üretici, kendi katlanabilir modellerini satışa çıkarmıştı.
Katlanabilir akıllı telefon pazarında rakiplerinin biraz gerisinde kalan Apple bu konuda sessizliğini koruyor.
Daha önce Apple'ın birden fazla katlanabilir telefon patenti aldığını ve bu konuda çalışmalar yaptığını sizlerle paylaşmıştık. Hatta iddialara göre ABD'li şirket, birden fazla katlanabilir iPhone prototipi üzerinde çalışıyor.
Yatay katlanan iki iPhone yolda
The Information'ın yeni bir raporu, şirketin Samsung'un Galaxy Z Flip cihazlarına benzer şekilde yatay olarak katlanan "en az iki" iPhone prototipi geliştirdiğini ortaya koyuyor.
Daha önceki bilgiler, şirketin dikey olarak katlanan bir model üzerinde çalıştığını da gösteriyor.
Gelen bilgilere göre, Apple'ın 2024 ve 2025 seri üretim planları arasında katlanabilir iPhone yok. Bu nedenle uzun bir süre beklememiz gerekebilir.
The Information, telefonun dışında mühendislerin tasarımla "mücadele ettiğini" çünkü cihazın kolayca kırılabileceğini söylüyor.

Apple bazı zorluklarla karşı karşıya
Ayrıca, mühendislerin "mevcut iPhone modelleri kadar ince" bir katlanabilir cihaz geliştirmek istedikleri de bildiriliyor, ancak pil boyutları ve ekran bileşenleri bunu zorlaştırıyor.
Sızıntılara göre, Apple şu ana kadar Asya'daki "en az bir" üreticiyle farklı boyutlardaki katlanabilir iPhone'lar için parça tedariki konusunda görüştü.
Katlanabilir iPad planları
Apple, uzun zamandır söylentilere konu olan katlanabilir iPad üzerinde de çalışmalar yürütüyor.
ABD'li şirket, iPad Mini ile hemen hemen aynı boyutta, sekiz inç ekrana sahip katlanabilir bir tablet geliştirmeyi düşünüyor.
Ürün üzerinde çalışan Apple mühendislerinin ekranın ortasında görünen kırışıklığı azaltmaya çalıştıkları ve ekranın açıldığında düz durmasını sağlayacak bir menteşe geliştirmek istedikleri bildiriliyor.
Teknoloji devinin, ekran konusunda endişelerinin olduğu, mekanik tasarım çözümleri için Samsung ve LG ile anlaştığı söyleniyor.

Katlanabilir iPad'in ne zaman piyasaya sürüleceği henüz belli değil, ancak The Elec'in yakın tarihli bir raporu, 2026 veya 2027 yıllarını işaret ediyor.
Şirket, katlanabilir ekranlar konusunda iPad'e odaklanmaya daha sıcak bakıyor, çünkü iPad modelleri şirketin ürün satışlarının nispeten küçük bir bölümünü oluşturuyor. Bu da potansiyel sorunların daha kolay yönetilebileceği anlamına geliyor.
Apple'a göre telefonların modası geçecek
Apple, her ne kadar katlanabilir iPhone ve iPad üzerinde çalışsa da şimdilik rakiplerini izlemeyi tercih ediyor. Çünkü şirket, katlanabilir telefonların gelecekte modasının geçeceğini düşünüyor.
Güvenilir Apple analisti Ming-Chi Kuo, 2024'te katlanabilir bir iPhone lansmanı için daha önce yaptığı tahminini 2025 olarak revize etmişti.
Kuo, 9 inçlik katlanabilir bir ekranın zaten Apple tarafından test edildiğini, ancak bu ekran boyutunun nihai bir üründe kullanılmayacağını söylüyor.

Katlanabilir iPhone fiyatı
Ekrandaki yenilikler, tahmin edebileceğiniz gibi katlanabilir iPhone'un fiyatını da ciddi şekilde artıracak.
Daha önce ortaya atılan iddialar, telefonun en az 1500 dolardan satışa sunulacağını söylüyordu. Ancak telefonun gecikmesi, her geçen yıl fiyatı daha da yukarılara çekebilir.
Bu nedenle, katlanabilir iPhone'un 2 bin doların üzerinde bir fiyatla çıkış yapması bekleniyor.
Geriden takip ediyor
Apple'ın katlanabilir telefonlarda "bekle ve gör" yaklaşımı uyguladığı söylentisi aslında pek de şaşırtıcı değil.
ABD'li şirket; çift lensli kameralar, parmak izi sensörleri veya 5G gibi teknolojileri benimseme konusunda hep rakiplerinden daha sonra adımlar atmıştı.
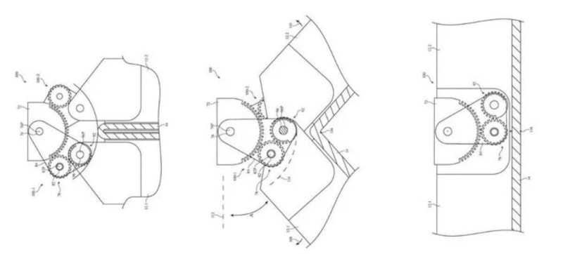
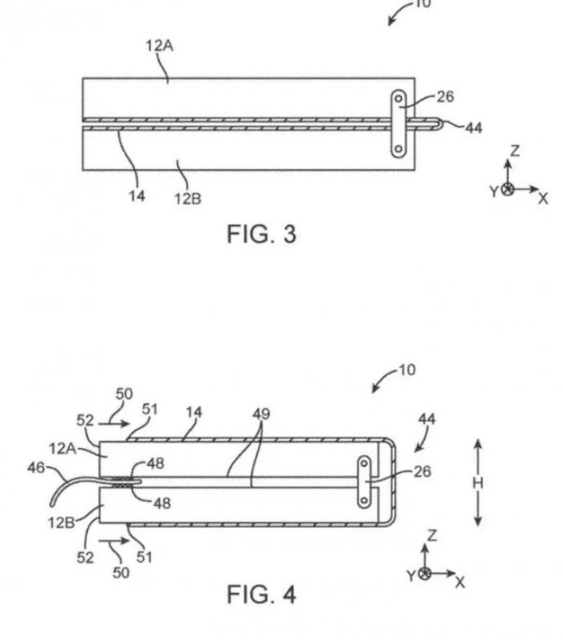
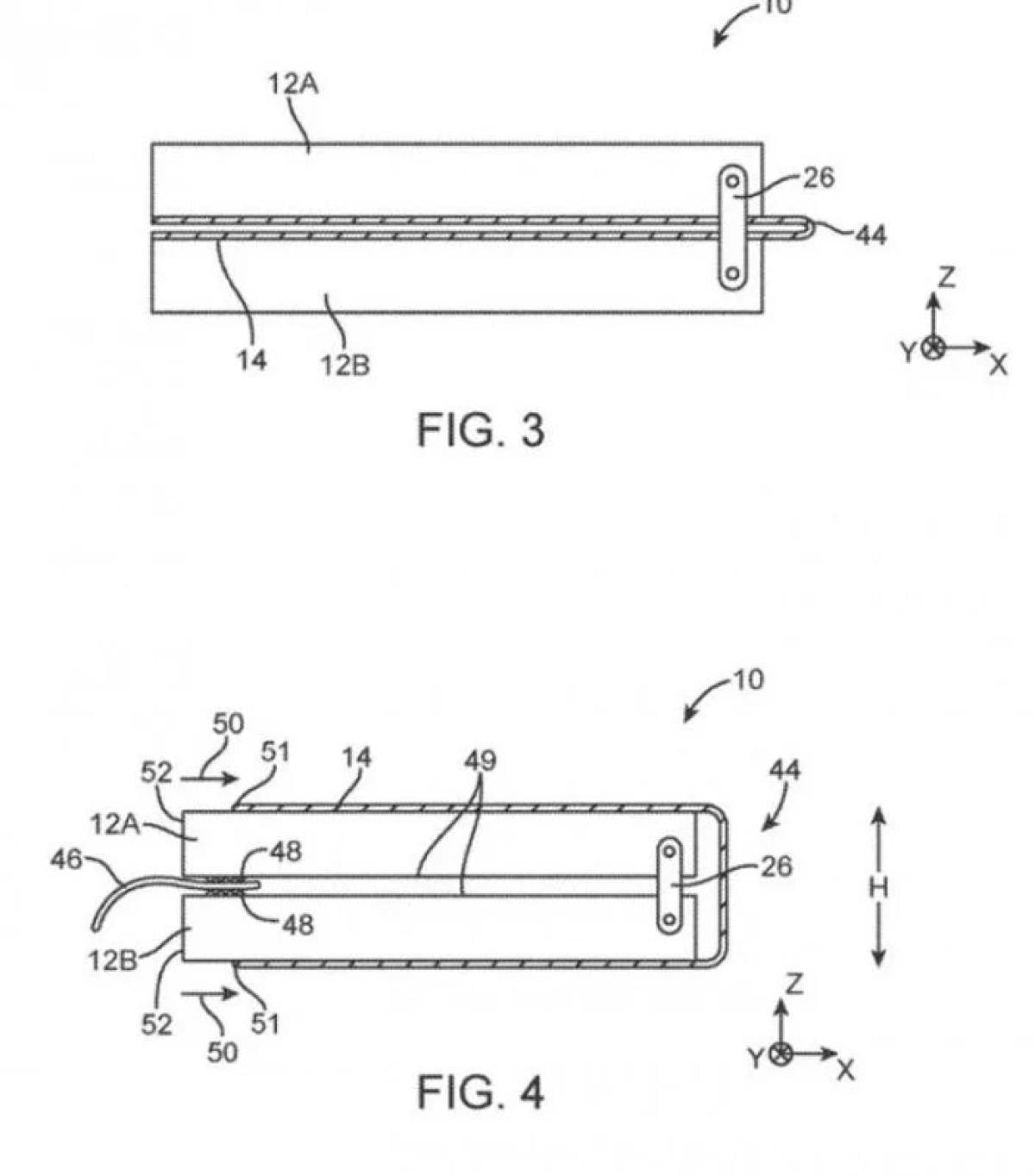
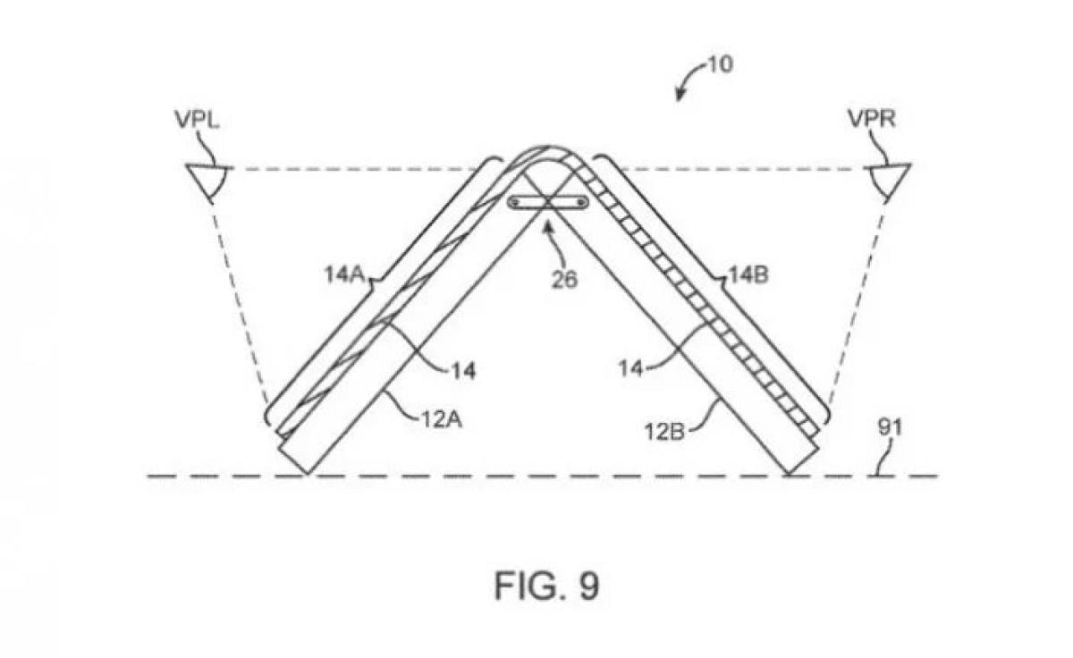
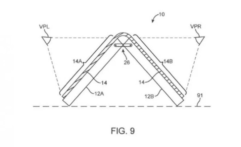
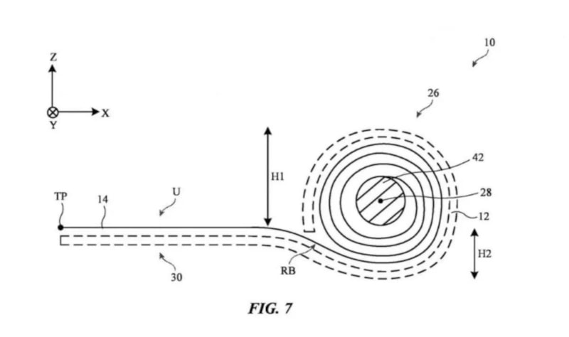
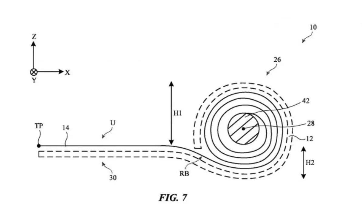
Haberimizin sonuna gelirken, Apple'ın şimdiye kadar katlanabilir cihazlarla ilgili yaptığı patent başvurularının görsellerini sizlerle paylaşıyoruz.









