Şimdiye kadar satışa çıkan akıllı telefonlar, genellikle önde ve arkada yer alan kameralarla karşımıza çıktı.
Hatta bazı üreticiler, daha büyük ekran sunabilmek için ön kamerayı üstten açılabilir mekanizmalara yerleştirdi.
Çinli akıllı telefon üreticisi Oppo ise artık kameraları telefonun kenarlarına da taşıyor. Şirketin yaptığı patent başvurusunda, telefonun kenarına yerleştirilen bir kamera karşımıza çıkıyor.
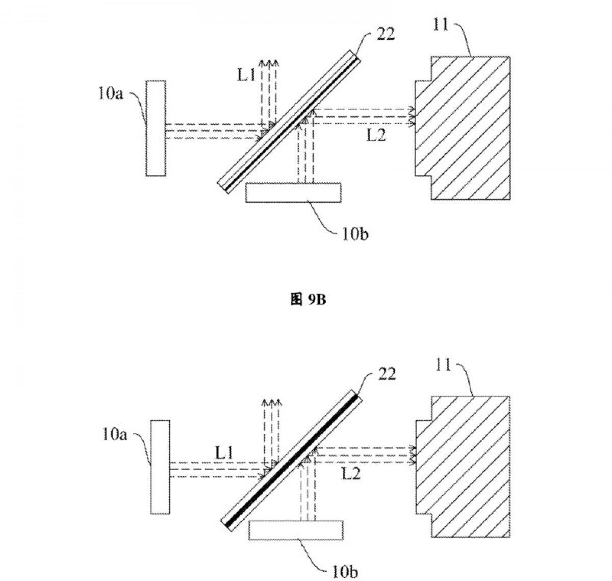
Tasarım patentine göre, kenar kamera sensörü arka kamera ile aynı hizada yer alıyor. İç kısımda bir ayna sistemi yön değiştirerek ya arkadan gelen ışığı ya da yandan gelen ışığı ana sensöre iletiyor.

AMAÇ NESNELERİ KAÇIRMAMAK
Oppo'nun yana kamera yerleştirmesinin amacı, hareketli nesneleri kaçırmamak. Örneğin hareketli çekimlerde arka sensörün görüş açısından çıkan nesne aynanın da hareketiyle yan sensörün görüş açısına giriyor.
Böylece farklı sensörler kullanmak yerine ayna sistemi ile çok daha geniş bir görüş açısı elde edilebiliyor.
Bununla birlikte, henüz yan kamera teknolojisine sahip bir akıllı telefon yok. Ancak Oppo'nun patent görüntüleri, bunun çok uzakta olmadığını gösteriyor.

