Samsung, Huawei ve Xiaomi gibi büyük şirketler, katlanabilir telefonlarını tanıtmaya hazırlanırken Apple'ın da bu fikre sıcak baktığı ortaya çıktı. Özellikle iPhone serisine çeşitli yenilikler getirmek isteyen şirket, esnek bir ekrana ve menteşeye sahip bir cihaz için patent başvurusunda bulundu.

DAHA BÜYÜK DEĞİL DAHA KÜÇÜK OLMAK İÇİN KATLANACAK
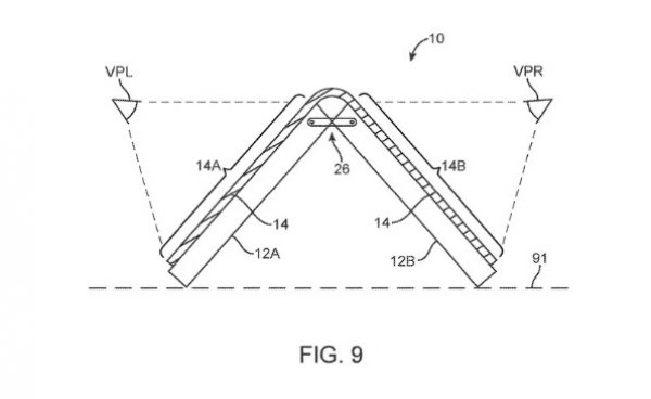
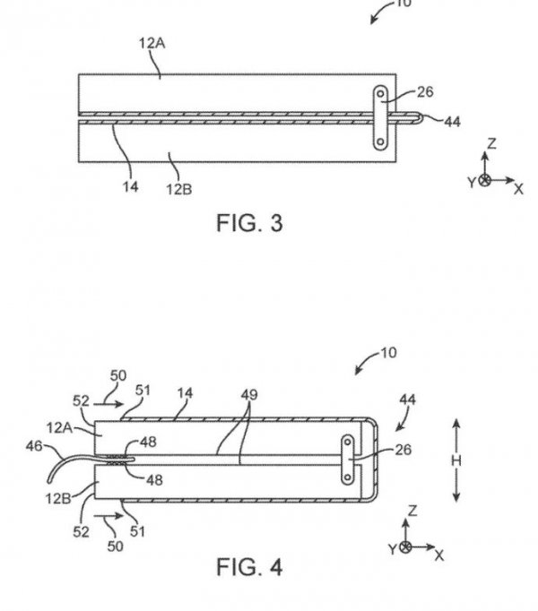
Apple'ın yeni patent görüntülerine baktığımızda, tam ortadan katlanabilen bir cihaz olduğunu görüyoruz. Patent, daha büyük bir ekran sunmak için katlanabilen bir cihaz yerine, daha kolay taşınabilmek için katlanabilen küçük bir cihazı ifade ediyor. Geçtiğimiz günlerde buna benzer bir patent başvurusu da Motorola gerçekleştirmişti.

HEM İÇE HEM DIŞA KATLANIYOR
Yukarıdaki görüntülere baktığımızda, Apple'ın patent başvurusunda bulunduğu cihaz, hem içe hem de dışa doğru katlanabiliyor. Şirket ayrıca, telefonun katlanabilmesini sağlayan menteşelerin etrafında esnek OLED ekranlar kullanıyor.
Apple, bu patent başvurusu için henüz bir yorum yapmasa da önümüzdeki yıllarda, katlanabilir bir iPhone karşımıza çıkabilir. Bu telefonun 2019 yılında karşımıza çıkması ise şu an için çok düşük bir ihtimal olarak görülüyor.
Aşağıdaki bağlantıdan Ensonhaber Teknoloji Instagram hesabını takip ederek güncel teknoloji haberlerine anında ulaşın.