Apple, katlanabilir telefonlar hakkında sessizliğini korumaya devam ederken gelen bilgiler, Apple'ın gelecek planlarını gözler önüne seriyor.
Daha önce Apple'ın birden fazla katlanabilir telefon patenti aldığını ve bu konuda çalışmalar yaptığını sizlerle paylaşmıştık. Hatta iddialara göre ABD'li şirket, birden fazla katlanabilir iPhone prototipi üzerinde çalışıyor.
Yeni patent ortaya çıktı
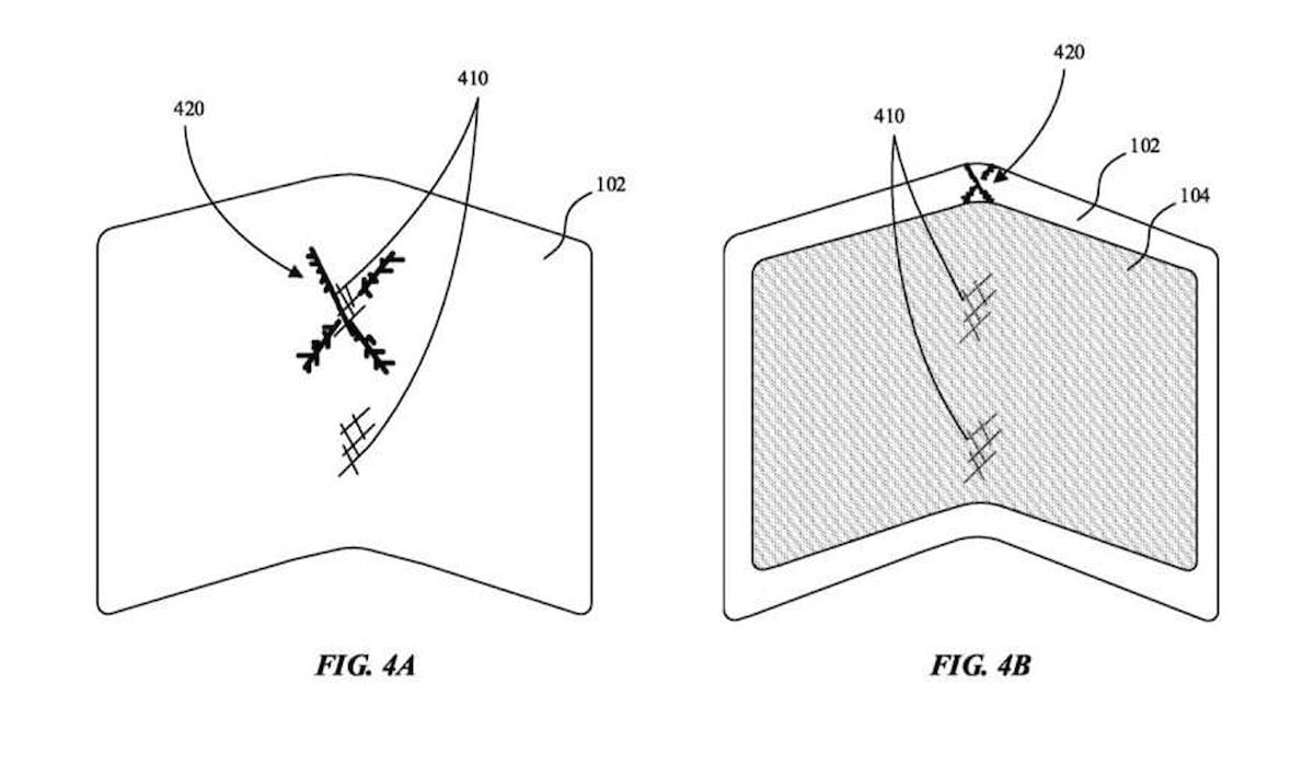
Apple'ın, ABD Ticari Marka ve Patent Ofisi'ne (USPTO), çatlamaya karşı dayanıklı katlanabilir ekranı tanımlayan yeni bir patent başvurusu yaptığı ortaya çıktı.

Apple, söz konusu patentle, katlanabilir cihazların en büyük problemlerinden biri olan kırılganlık sorununu çözmek istiyor.
US-20230011092-A1 numaralı patent; esnek bir alt tabaka, ince film transistör katmanı ve koruyucu bir katman dahil olmak üzere çeşitli katmanlardan oluşan bir ekran şemasını içeriyor.
Güvenilir Apple analisti Ming-Chi Kuo, 2024'te katlanabilir bir iPhone lansmanı için daha önce yaptığı tahminini revize etti. Artık Kuo, böyle bir cihazla karşılaşacağımız en erken tarihin 2025 olacağını düşünüyor.