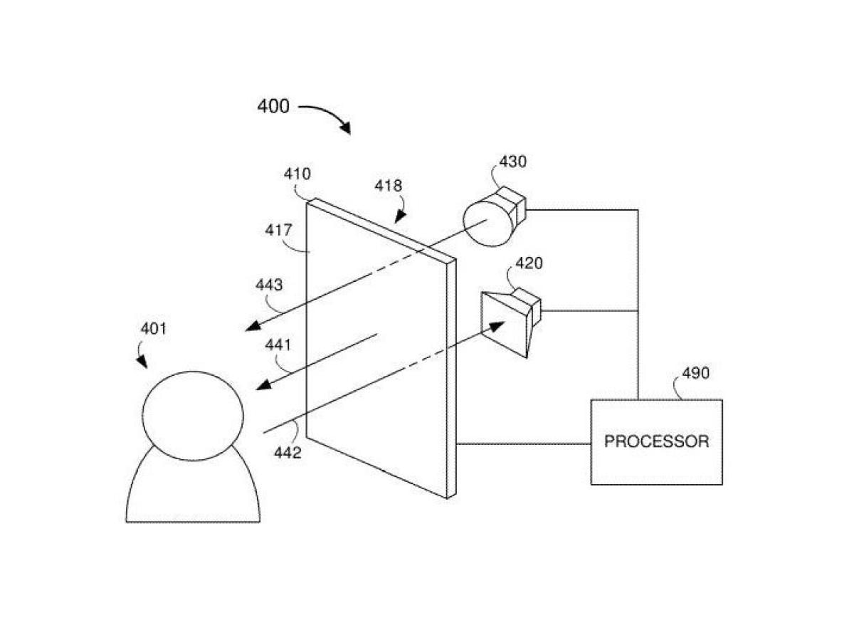
Apple'ın "12124291" numaralı patenti, ekranın altına yerleştirilen kamera ve Face ID sensörlerinin nasıl çalışacağını detaylı bir şekilde açıklıyor.
Bu teknoloji, "bant geçiş filtresi" kullanarak selfie kamerası ve Face ID sensörü için farklı ışık dalga boylarını izole etmeyi sağlıyor. Böylece, selfie çekerken görünür ışık, Face ID kullanırken kızılötesi ışık sensöre ulaşacak.
EKRAN ALTI KAMERA DEVRİMİ
Ekran altı kamera teknolojisi yeni bir konsept değil, ancak Apple'ın bu teknolojiyi mükemmelleştirerek iPhone'lara getirmesi, akıllı telefon dünyasında yeni bir dönemin başlangıcı olabilir.
Çentiğin ortadan kalkmasıyla birlikte, iPhone'lar daha modern ve şık bir tasarıma kavuşacak.

MÜKEMMEL GÖRÜNTÜ KALİTESİ İÇİN ÇALIŞMALAR SÜRÜYOR
Apple'ın ekran altı kamera teknolojisini kullanırken görüntü kalitesinden ödün verip vermeyeceği merak konusu.
Şirket, tutarlı bir görsel deneyim sunmak için yoğun bir şekilde çalışıyor. Ekran altı kameraların genellikle geleneksel kameralara göre daha düşük performans gösterdiği biliniyor, ancak Apple'ın bu sorunu çözmek için özel bir çaba sarf ettiği düşünülüyor.
Söylentilere göre, ekran altı kamera teknolojisi ilk olarak iPhone 18'de kullanılabilir. Ancak, patent başvuruları her zaman kesin bir ürün lansmanına işaret etmeyebilir.
Apple, bu teknolojiyi mükemmelleştirmek ve "Apple tarzında" sunmak için zaman ayırıyor.
Apple'ın şu anda yapay zeka entegrasyonuna ve yazılım geliştirmelerine odaklandığı biliniyor. Ekran altı kamera teknolojisi, şirketin uzun vadeli planlarının bir parçası.