Güney Koreli teknoloji devi Samsung, geçtiğimiz haftalarda ilk akıllı yüzüğü olan Galaxy Ring'î satışa çıkarmıştı.
Yeni ortaya çıkan sızıntılar, Samsung'un en büyük rakibi olan Apple'ın da benzer bir ürün geliştirdiğini gösteriyor.
Apple'ın yeni nesil giyilebilir teknolojisi olarak öne çıkan Apple Smart Ring hakkında ilk detaylar ortaya çıktı.
Bu akıllı yüzük, benzersiz özellikleriyle dikkat çekerek akıllı telefon deneyimimizi bir üst seviyeye taşımaya hazırlanıyor.
PATENT BAŞVURUSU SIZDIRILDI
Son çıkan patent başvurusu, teknoloji devinin geliştirdiği Apple Smart Ring hakkında daha fazla ipucu veriyor.
Bu patent, sadece sağlık özelliklerine odaklanmak yerine, kullanıcıların iPhone, iPad ve Mac gibi çeşitli Apple cihazlarını kontrol edebileceği bir akıllı yüzükten bahsediyor.

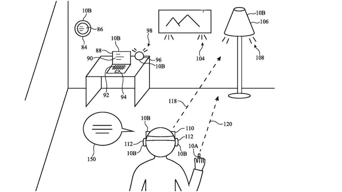
Başvuruda yer alan görsellerde, cihazın çeşitli sensörlerle donatılacağı görülüyor. Bu sensörler, farklı türde giriş sinyallerini algılayabilen yazılımlar içeriyor.
Bu, cihazın el hareketleri, dokunma, basınç, ses, işaret etme ve bakış gibi çeşitli giriş biçimlerini algılayabileceği anlamına geliyor. Ayrıca, yüzüğün bir mikrofona sahip olacağı da belirtilmiş durumda.
Akıllı yüzük, farklı türdeki cihazlar arasında köprü görevi görerek kullanıcıların daha sezgisel ve pratik bir deneyim yaşamalarını sağlayabilir. Ancak bu ürün hakkında henüz resmi bir açıklama yok.