Apple, MacBook serisinin kapaklarını daha güçlü ve güvenli hale getirmek için yeni bir patent başvurusunda bulundu. Bu yenilik, dizüstü bilgisayarların manyetik kapak mekanizmasında önemli değişiklikler öngörüyor.
Apple, MacBook Air ve MacBook Pro modellerinde kullanılan manyetik kapak sistemini geliştirmeyi hedefliyor. Mevcut sistemde, kapakların açık veya kapalı olduğunu algılamak ve kapalıyken güvenli bir şekilde tutmak için mıknatıslar kullanılıyor.
Ancak Apple, bu mıknatısların istenmeyen manyetik alanlar ürettiğini ve bu alanların kredi kartları gibi hassas eşyalara zarar verebileceğini belirtiyor.
YENİ MANYETİK SİSTEMİN AVANTAJLARI
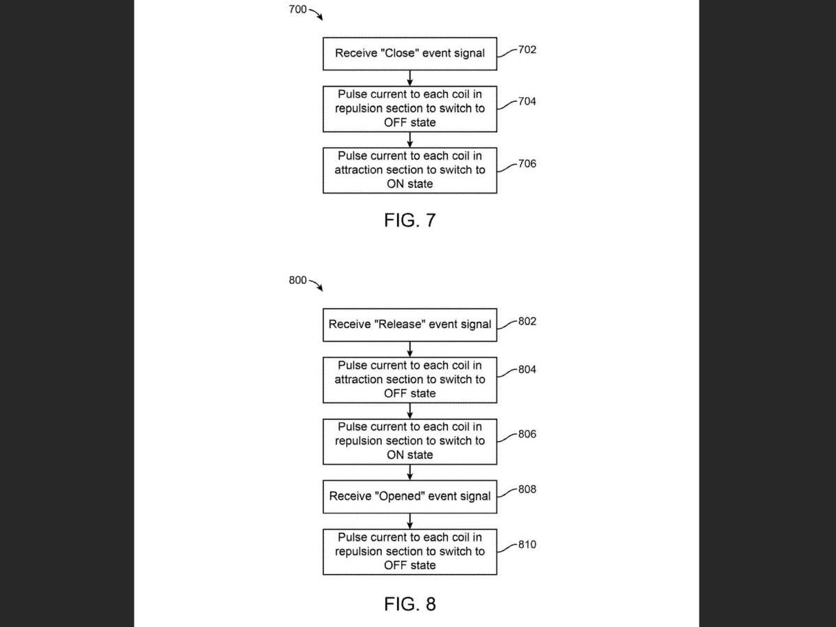
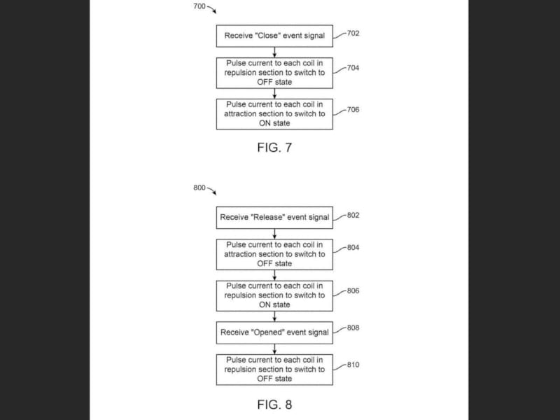
Apple'ın patent başvurusunda açıkladığı yeni manyetik sistem, elektromanyetik bir yapıya sahip olacak.
Bu sistem sayesinde, mıknatıslar sadece ihtiyaç duyulduğunda devreye girecek ve kapak açıkken herhangi bir manyetik alan üretmeyecek.
Bu, yakındaki eşyaların zarar görme riskini ortadan kaldıracak ve aynı zamanda kapağın daha güçlü bir şekilde kapalı tutulmasını sağlayacak.

Apple, MacBook modellerinin kalitesine büyük önem veriyor. Windows dizüstü bilgisayarlardan MacBook'a geçen kullanıcılar, genellikle MacBook'ların daha üstün bir kalite hissine sahip olduğunu belirtiyor.
Apple'ın bu yeni patent başvurusu, bu kalite algısını daha da güçlendirebilir. Daha güçlü ve güvenli kapaklar, MacBook'lara daha da premium bir hava katacak.
Şu an için bu sadece bir patent başvurusu olsa da Apple'ın bu teknolojiyi gelecekteki MacBook modellerinde kullanması bekleniyor.